본문 바로가기
주메뉴 바로가기
Products
코뿔소 제품안내
Gas Connectors (가스 커넥터)
Commercial Gas Connectors (상업용 가스 커넥터)
CSST Gas Line System (CSST 가스 라인 시스템)
CSST Gas Fittings (CSST 가스 황동 연결구)
CSST Water Line System (CSST 워터 라인 시스템)
CSST Water Fittings (CSST 워터 황동 연결구)
Braided Water Connectors (스테인리스 편조 호스)
Supply Stop Valves (공급 차단 밸브)
Water Heater Connectors (온수기 콘넥터)
Isolation Valves (온수기 밸브)
Thermal Expansion Tanks (열팽창 탱크)
Expansion Tank Mounting Brakets (열 팽창 탱크 브라켓)
No Hub & Flexible Couplings (커플링)
LINESET for Air Conditioning System (에어컨 라인셋)
Fire Protection (소방용 스프링클러 설비의 신축배관)
Flexible Expansion Joint (내진 팽창 조인트)
Vibration Absorber(진동흡수관)
Refrigeration Tube (냉장, 냉동 튜브 )
Flexible Metal Hose (플렉시블 메탈 호스)
OEM Solutions
Resource
Catalog
Documents
Videos
News
Blogs
Support
Company
CEO 인사말
회사연혁
ESG 경영
경영이념
특허인증
오시는 길
Contact Us
KR
KR
EN
끊임없는
열정과 혁신으로
시장을 선도하는
코뿔소
KR
EN
특허인증
획기적인 제품개발과 연구활동으로
더욱 성장하는 코뿔소
국내인증
해외인증
특허 및 실용신안
정부인증
전체 : 21
전체
국제특허
국내특허
검색하기
국제특허
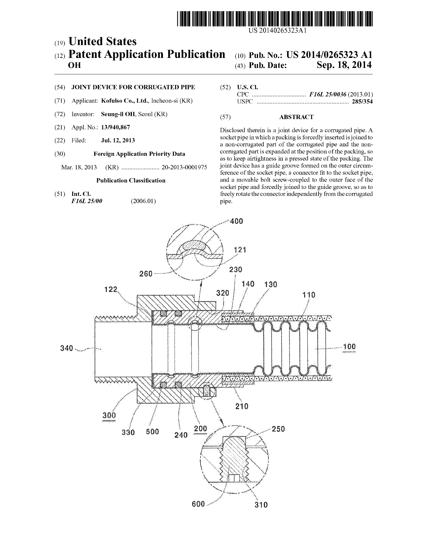
Joint device for corrugated pipe
국제특허
Excess flow shut-off device
국제특허
Coupler for corrugated pipe
국제특허
Sprinkler mounting device
국제특허
Sprinkler support fr
ame coupling device
국제특허
Sprinkler reducer fixing bracket
국제특허
Sprinkler mounting device
국제특허
Mounting structure for spinklers
국제특허
sprinkler reducer fixing bracket
처음페이지
1
2
마지막페이지
CATALOG
TOP